
雖然皮帶輸送系統在形式上各有差異,但皮帶輸送機主要的結構是相似的,下面以一種用于某紐扣式電池裝配檢測生產線的皮帶輸送系統為例說明皮帶輸送機結構組成。
例 某皮帶輸送系統用于紐扣式鋰錳電池裝配檢測生產線自動輸送工件,工件直徑約20mm,厚度約3mm,輸送線長度約為1.2m。
(1)總體結構
圖1為工程上用于這一自動化裝配生產線的皮帶輸送系統總體結構。

圖1 某自動化裝配生產線上皮帶輸送系統總體結構
1-張緊輪;2-輸送皮帶;3-托板;4-輥輪;5-主動輪
從圖1可知,該皮帶輸送線主要由輸送皮帶、托板、輥輪、主動輪、張緊輪組成,為了最大限度地簡化結構,采用了6只相同結構的輥輪,其中輥輪1的位置是可以左右調整的,用于對皮帶的張緊力進行調整,所以稱為張緊輪,其余5只輥輪則僅起到支承的作用,也就是通常所說的從動輪。主動輪5位于最下方,直接驅動皮帶運動。
由于輸送線用于輸送單件的工件,要求工件在輸送過程中沿直線方向運動而且要求具有一定的位置精度,所以在皮帶的輸送段下方設置了不修復托板,支承皮帶及工件的重量,而下方的返回段則由于皮帶長度不長而處于懸空狀態(tài)。
下面對各部分的詳細結構進行介紹。
(2)主動輪
主動輪是直接接受電機傳遞來的扭矩、驅動輸送皮帶的輥輪。它依靠與皮帶內側接觸面間的摩擦力來驅動皮帶,因為要傳遞負載扭矩,所以輥輪與傳動軸之間通過鍵連接為一個整體,沒有相對運動。圖1所示實例中主動輪及其驅動機構的詳細結構如圖2所示。

圖2 主動輪及其驅動機構
1-左安裝板;2-左軸承座;3-滾動軸承;4-主動輪;5-右軸承座;6-右安裝板;7-電機安裝板;8-減速器;9-電機
主動輪一般通過鏈傳動、齒輪傳動、帶傳動方式來驅動,也可以將電機減速器的輸出軸與主動輪直接連接來驅動,圖2就是采用這種直聯的方式,結構緊湊,占用空間小。圖3為某生產線皮帶輸送系統上另一種采用齒輪傳動的主動輪結構實例。

圖3 主動輪結構實例
1-齒輪;2-滾動軸承;3-左支架;4-彈簧擋圈;5-主動輪;6-傳動軸;7-右支架
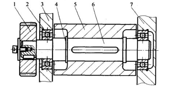
(3)從動輪
從動輪是指不直接傳遞動力的輥輪,僅起結構支撐及改變皮帶方向作用,與皮帶一起隨動,通常也稱為換向輪。從動輪與主動輪最大區(qū)別為從動輪的軸與輪之間是通過軸承連接,因而軸與輪之間是可以相對自由轉動的,而主動輪的軸與輪是通過鍵聯結成一體的。圖1所示實例中從動輪的結構如圖4所示。